抖音推广
抖音推广
更多
长按下方复制微信
更多
cuixiansheng21
推广样式
更多
定向人群信息流曝光,关键词搜所广告
抖音推广
更多
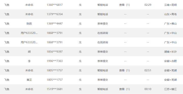
部分在线询盘
更多
精准获取客户线索,让成交更简单
1
更多
关键词搜索样式展示
更多
关键词搜索第二个视频展示
抖音推广
更多
抖音推广
抖音推广
抖音推广
更多
抖音推广
抖音推广
抖音推广
更多
抖音推广
抖音推广
信息流定向样式展示
更多
根据人群兴趣定向投放
抖音推广
更多
抖音推广
抖音推广
抖音推广
更多
抖音推广
抖音推广
抖音推广
更多
抖音推广
抖音推广
抖音推广
更多
收起
取消
抖音推广
抖音账号运营
抖音优化
拨打电话
首页
信息
QQ
留言
位置
购物
会员
语音
分类
微信
抖音账号运营
×
账号登录
找回密码
登录
没有账号请注册
首页
抖音团购
抖音优化
抖音账号运营
竞价推广
抖音推广
联系我们
推广案例
网站优化
CPT搜索竞价包年
爱采购包年
爱采购竞价
推广项目
企业动态
在线留言